深圳市招生考试委员会关于做好我市2026年普通高校招生统一考试报名工作的通知
时间 : 2025-10-11 11:00 来源 : 深圳市教育局
市招生考试委员会各成员单位,各区(大鹏新区、深汕特别合作区)教育行政部门,各普通高中、中职(技工)学校,各社会报名点:
根据广东省招生委员会《关于做好广东省2026年普通高校招生统一考试报名工作的通知》(粤招〔2025〕7号)要求,2026年普通高校招生统一考试(简称普通高考,下同)报名工作定于2025年11月1日至10日进行。按照教育部、省有关规定,结合我市实际,现就有关事项通知如下:
一、加强组织领导
市招生考试委员会有关成员单位、各区(含大鹏新区、深汕特别合作区,下同)教育行政部门、各学校(报名点)务必高度重视、精心组织、严格把关,狠抓落实,认真做好高考报名各项工作,确保我市2026年高考报名工作平稳顺利进行。
报名前,教育行政部门要积极协调公安、人社、医保等部门,建立健全报名资格联审工作机制;各学校(含报名点,下同)要配合学籍管理部门加强本校的学籍管理,在高考报名前结合学籍管理系统数据,对本校学籍和考生实际就读情况进行一次专项核查,核查结果由学校校长签字确认,并做好汇总统计工作;各区教育行政部门要指导辖区各学校严格规范做好报名工作。学籍管理和户籍管理部门要按照职责分工严格审核考生的学籍户籍等相关信息,严把报名资格审核关,严防“高考移民”,不断优化报名资格审核流程,提高工作效率。
各区教育行政部门、各学校要根据《深圳市2026年普通高校招生统一考试报名工作规定》(附件,以下简称《报名工作规定》)的相关要求,做好高考报名组织实施和考生宣传指引工作。
二、加强报名点管理
报名点的设置和管理工作应按照《广东省普通高校招生统一考试报名工作管理办法(暂行)》(粤招办〔2022〕16号)的相关要求进行。各区教育行政部门要加强高考报名点的统筹和管理,根据考生分布合理设置报名点。报名点一般设置于高中阶段学校,不得在校外培训机构设置报名点。往届生及其他社会考生应到市招考办指定的社会报名点进行高考报名。各高中阶段学校和有五年一贯制审核任务的高职院校应根据省、市的统一部署做好报名点设置工作。各学校名单经各区教育行政部门核准后,由市招考办于10月中旬前报省教育考试院备案。各区教育行政部门要加强对报名点管理,按标准规范配置报名所需设备;报名前对各学校业务负责人开展系统集中培训,确保各学校准确掌握报名政策和审核标准。高考报名工作实行责任制和责任追究制,对在报名工作中,不认真履职尽责、弄虚作假或协助考生弄虚作假造成严重后果的,将依法依规严肃追究相关人员责任。
三、严把资格审核关
各区教育行政部门、各学校要积极会同相关单位和部门认真做好考生资格审核工作。要对照高考报名条件认真审核报考人员的户籍、学历、学籍等信息及其他报考资格材料。凡不符合报考条件的,一律不予报名。对于凭虚假材料报名或通过办理非正常户口迁移手续等违规手段获取我省高考报名资格的,一经查实,将取消其高考报名、考试及录取资格。
(一)严格审核学籍和实际就读情况。学籍管理部门要按照《关于印发〈广东省教育厅关于中小学生学籍管理的实施细则(试行)〉的通知》(粤教基〔2014〕24号)及中职学校学籍管理相关规定,加强高中阶段学校学籍管理。为确保高考报名时,学籍数据完整、准确,市、区学籍管理部门、各学校应尽快核准完善学籍数据,确保10月20日前完成学籍数据的更新校验工作。高考报名前,市、区学籍管理部门要对辖区内各高中阶段学校学籍管理情况进行专项核查,坚决杜绝“在册不在校、人籍分离”现象。各学校要严格执行教育教学管理规定,认真审核考生的学籍和实际就读情况,审核结果由学校校长签名确认,由各学校留档备查。
(二)严格审核户籍由外省迁入我省的考生资格,严防“高考移民”。户籍由外省迁入我省考生的报名资格审查工作,按照省招生委员会、教育厅、公安厅《关于进一步加强“高考移民”综合治理工作的通知》(粤招〔2019〕11号)要求执行。各区教育行政部门、各学校要对照高考报名条件,认真审核考生的户籍、学籍、学历和实际就读情况,凡不符合我省高考报名条件的一律不予报名。要主动协调公安部门,严格审核考生户籍信息的真实有效性,重点核查高中阶段户籍由外省迁入我省考生是否符合迁户政策。凡属弄虚作假或以高考为目的非法迁移入户的,一律取消其高考报名资格。各学校应及时将审核结果告知考生,尤其是对只能报考高职(专科)批次院校的考生,应明确告知后果(若报考,将无法报读本科批次院校)。2026年2月底前,各区教育行政部门须将本辖区只能报考高职(专科)批次院校的考生名单汇总通过粤政易报送市招考办。
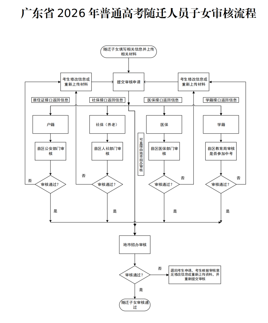
(三)严格审核随迁子女报考资格。各区教育行政部门、各学校要切实加强随迁子女考生报考资格审核,严格规范执行随迁子女升学考试政策规定。随迁子女资格审核工作按照《关于做好进城务工人员随迁子女在广东省参加高考有关工作的通知》(粤教考函〔2017〕41号)《广东省教育厅关于优化进城务工人员随迁子女在我省报名参加普通高考资格审核有关工作的补充通知》(粤教考函〔2023〕34号)《深圳市招生考试办公室关于做好2026年普通高考随迁子女考生报考资格审核工作的通知》(另文通知)等相关要求执行。审核过程中,发现随迁子女提交的资格证明材料及证件不齐全或弄虚作假的,一律不予报名,已经报名的,取消报名资格。各学校可提前组织随迁子女考生进行材料初核,引导不符合我省报考条件的学生尽早回户籍所在地参加高考报名。
(四)严格审核考生毕业生身份。除报考高校少年班、数学英才班、数学领军计划、物理攀登计划、物理学科卓越人才培养计划等教育部批准的类型外,严禁非应届毕业班在校学生报考。凡非应届毕业年份以弄虚作假手段报名并违规参加普通高校招生考试的学生,在其应届毕业当年不得报名参加高考。中学有组织非毕业班学生报考行为的,将予以通报批评,并严肃追责。高等学校新生报到时将核验考生高中阶段学校毕业证或高中同等学力证明,无高中阶段学校毕业证或高中同等学力证明的考生将不予报到和注册。
(五)严格审核考生加分和优先录取资格。2026年普通高考考生加分资格和优先录取资格申报工作按照《广东省招生委员会关于进一步调整广东省高考加分项目和加强管理工作的通知》(粤招〔2015〕6号)及有关规定执行。根据《报名工作规定》的时间和流程安排,各学校要将相关政策告知全体考生,并提醒符合条件的考生及时准备相关证明材料,在规定时间内提出申请。要安排专人负责考生加分资格和优先录取资格的材料汇总、资格审核、上报、公示、信息录入等工作,避免造成工作脱节和遗漏。要充分利用数据比对、部门联审等办法加强考生加分和优先录取资格审核工作。对弄虚作假骗取加分和优先录取资格的,将依法依规严肃处理。
四、做好报名信息核验和建档工作
考生信息是考生考试、填报志愿、投档录取、入学报到、电子注册、学籍管理、学历证书办理的重要依据。考生信息错漏可能导致考生无法正常考试、无法填报志愿、无法在教育部备案,毕业时无法获得毕业证书等问题。各学校要高度重视考生信息数据的采集和建档工作,建立健全考生信息核准检验机制。各学校要认真指导考生完成报考信息的填写、校对工作,指定专人负责考生信息的核准工作,确保考生信息真实准确。
一是要坚持考生基本身份特征信息使用电子设备程序统一采集。统一使用身份证阅读器采集考生基本身份数据,使用省普通高考报名系统、省教育考试院官微小程序采集考生相片和人脸特征信息数据。
二是要建立健全考生信息核验机制。对于考生填报的信息有电子数据的要充分利用电子数据核验,无电子数据的要求考生在签名确认前认真逐项检查报名表内容,采用交叉检查、工作人员复核等方式加强人工核验,重点加强对户籍地、应/往届、学籍、选择考科目、联系电话等关键易错信息的核验,确保电子信息数据准确。
三是要及时处理报名过程中遗留问题。对报名过程中无法处理的生僻字等问题,报名结束后要按要求及时汇总上报市招考办。此外,考生报名后姓名、证件号、户籍、政治面貌等信息有变化,按照“广东省2026年普通高考考生信息修改审核流程”申请更正,信息更正办理时段为报名结束后至2026年4月30日以及2026年6月10日至6月12日(注:开考后不再受理高考报名所使用户籍被注销考生的修改信息申请),因考生未及时提交修改信息申请而造成的遗留问题由考生本人承担责任。
五、切实提高服务水平
各区教育行政部门、各学校要严格报名资格审核,认真梳理报名工作各个环节,进一步优化机制、简化流程,着力解决考生急难愁盼问题,在报名过程中为考生办实事,减轻学生报考负担。在随迁子女资格审核、户籍从外省迁入我省考生资格审核、残疾考生合理便利申请审核等涉及跨部门审核的,要及早与相关部门做好沟通协调,明确审核流程,给出清晰指引;能够利用网上联审,或利用电子数据进行比对的,要尽可能减少学生家长上门,减少开具证明要求;对应届毕业考生,能够由学校集中统一办理的,应通知考生提前准备材料,集中统一办理;中等职业学校要加强统筹,将报名政策和安排及时通知在校外实习实践的学生,并组织好相关学生的高考报名工作;对残疾考生申请合理便利等需要现场评估的,要做好指引,并协调相关部门一次完成评估和材料报送工作。
附件:深圳市2026年普通高校招生统一考试报名工作规定
深圳市招生考试委员会
2025年10月11日
附件.深圳市2026年普通高校招生统一考试报名工作规定
为做好我市2026年普通高校招生统一考试报名工作,根据教育部、广东省有关规定和文件要求并结合工作实际,特制定本规定。
一、报名时间
2026年我省普通高校招生统一考试报名时间为2025年11月1日至10日。考生报名包含系统注册、网上报名和确认报名共3个步骤,其中系统注册和网上报名的时间为:11月1日至10日,确认报名时间:11月6日至10日。
拟参加2026年普通高校招生录取(含春季高考和夏季高考)的以下类型考生须在上述时间报名:
1.普通高等学校招生统一考试(普通高考)考生;
2.普通高等学校招收中等职业学校毕业生统一考试(简称“3+证书”考试)考生(含报考高职院校的退役士兵、西藏新疆内职班应届毕业生);
3.高职院校依据普通高中学业水平成绩录取(简称依学考成绩录取)考生(此类考生报名参加普通高中学业水平考试的具体安排另行通知);
4.高等学校单独组织考试(含免试)及单独录取的保送生、运动训练、武术与民族传统体育专业、职教师资、残障(单招)、消防救援(单招)等类型考生;
5.报考高职院校自主招生(含现代学徒制试点等,简称高职自主招生)及中高职贯通三二分段高职学段(简称三二分段)考生;
6.高职院校五年一贯制录取并于2026年进入高职阶段学习(简称五年一贯制)学生。
二、报名条件
(一)下列人员可以在我省报名参加普通高考
遵守中华人民共和国宪法和法律,高中阶段学校毕业或具有同等学力,身体状况符合相关要求,并符合下列条件之一:
1.具有广东省户籍,且出生后首次申报户口登记在广东(即身份证号码的前两位为44)。
2.父母一方(或法定监护人,下同)属于符合《广东省人才优粤卡实施办法》(粤府〔2023〕29号)规定的人才优粤卡持有人,或经省或地级市人民政府认定的符合《中共广东省委 广东省人民政府关于加快吸引培养高层次人才的意见》(粤发〔2008〕15号)规定的高层次引进人才。
3.父母一方属于驻粤部队现役军人,报考人员须具有我省高中阶段学校学籍,并实际就读。
4.户籍从外省迁入我省的考生,须符合以下要求:
(1)应届毕业生
①具有我省高中阶段学校连续3年学籍(时间计算到高考当年8月31日,下同)并实际就读,且高考报名时具有我省户籍的。
②考生父母(含父母一方或法定监护人)为广东户籍,考生取得我省户籍满1年、学籍满1年不足3年并实际就读的。即考生于高三年级开学前(时间统一截至2025年8月31日)已将户籍迁入我省,且高三年级开学前已具有我省高中阶段学校学籍并连续实际就读。
③考生父母(或法定监护人)均非广东户籍,但考生取得我省户籍满2年、学籍满2年不足3年并实际就读的。即考生于高二年级开学前(时间统一截至2024年8月31日)已将户籍迁入我省,且高二年级开学前考生已具有我省高中阶段学校学籍并连续实际就读。
(2)往届毕业生
①持我省高中阶段学校毕业证书的。
②持外省高中阶段学校毕业证书,户籍迁入我省满18个月(时间计算到高考当年8月31日),且高考报名时高中阶段学校毕业满1年的。
(3)同等学力人员
①户籍迁入我省满3年(时间计算到高考当年8月31日),且在我省参加中考,高考录取时考生须初中毕业(含结业)满3年,并取得我省普通高中同等学力证明的。
②户籍迁入我省满18个月(时间计算到高考当年8月31日),高考报名时初中学校毕业(含结业)满4年,并取得高中同等学力证明的。
5.符合《广东省人民政府办公厅转发省教育厅等部门关于做好进城务工人员随迁子女接受义务教育后在我省参加升学考试工作意见的通知》(粤府办〔2012〕137号)报考条件的进城务工人员随迁子女。
6.持有香港或澳门居民身份证,同时持有《港澳居民来往内地通行证》或《港澳居民居住证》,并在我省高中阶段学校实际就读的香港、澳门学生。
7.持有在台湾居住的有效身份证明,同时持有《台湾居民来往大陆通行证》或《台湾居民居住证》,并在我省高中阶段学校实际就读的台湾省籍学生。
8.在我省定居,并在我省高中阶段学校实际就读,且持公安机关或国家移民管理局签发的《中华人民共和国外国人永久居留证》的外国侨民。
9.在我省内地西藏、新疆高中班就读的毕业生,可以在我省报名参加普通高考,但不在我省录取。
10.在我省就读,符合《广东省教育厅关于做好内地西藏新疆中职班应届毕业生升入高职院校有关工作的通知》规定的内地西藏新疆中职班应届毕业生,可以报名参加“3+证书”考试。
11.在我省就读,符合高校(中国科学技术大学、东南大学、西安交通大学)少年班、(北京大学、清华大学)数学英才班、清华大学数学领军计划、清华大学物理攀登计划、北京大学物理学科卓越人才培养计划等报考资格的非高三毕业班学生,可根据招生院校提供的资格考生名单报考,考生如需参加文化课统一考试,考试成绩只能作为报考高校少年班、数学英才班等的录取依据,不能作为当年广东省普通高校招生其他院校录取的依据。清华大学数学领军计划、北京大学物理学科卓越人才培养计划等非高三毕业班资格学生只参加高考报名,不参加文化课统一考试(具体以高校有关招生章程为准)。
12.其他符合教育部报考规定的。
(二)下列人员不得在我省报名普通高考
1.具有普通高等学历教育资格的高校在校生,或已被普通高校录取并保留入学资格的学生。
2.高中阶段学校非应届毕业的在校生。
3.在高中阶段非应届毕业年份以弄虚作假手段报名并违规参加普通高校招生考试(包括全国统考、省级统考和高校单独组织的招生考试,简称高校招生考试)的应届毕业班学生。
4.因违反国家教育考试规定,被给予暂停参加高考处理且在停考期内的人员。
5.因触犯刑法受到刑事处罚、尚在处罚期内的。其中,未成年人按相关法律规定执行。
6.不符合我省普通高考报名条件的其他人员。
高考报名后至开考前,如发现考生有上述不符合报考条件的情况,由省级招生考试机构按程序取消其高考报名资格。
(三)其他事项
1.驻粤部队现役军人身份由省军区统一核准确认。按照省军区政治工作局有关工作安排,子女符合高考报名条件的驻粤部队现役军人应于2025年10月15日前通过所在团以上部队,将相关材料递交给学校所在地级城市军分区(警备区)政治工作部门,相关材料咨询有关军分区(警备区)政治工作部门。
2.本通知所称的高中阶段学校包括普通高中、中等职业学校(含职业高中、中专、成人中专、技工学校、技师学院)。
3.全日制高中阶段学校应届毕业生凭学校开具的应届毕业证明参加高考报名。高中阶段学校往届毕业生及非全日制高中阶段学校毕业生须取得毕业证书方可参加高考报名。
4.普通高中同等学力认定工作依照《广东省教育厅关于规范普通高中同等学力认定工作的通知》(粤教基函〔2019〕129号)执行,具体考核认定办法以各地市教育局为准。
5.具有我省户籍的应、往届毕业生,如户籍迁入时间或学籍(学历)未达到上述我省普通高考报名条件的,可以在我省报名参加普通高考,但只能参加高职院校(专科)批次录取,不能参加本科批次录取。
6.学制少于三年的高中阶段学校毕业生,其初中毕业时间到高考当年8月31日不满3年的,可以在我省报名参加普通高考,但只能参加高职院校(专科)批次录取,不能参加本科批次录取。
7.考生不得在我省和其他省份同时参加2026年普通高考报名。
三、报名地点
(一)应届毕业生
1.广东省户籍考生原则上在学籍所在地报考,也可以在户籍所在地报考,不得在其他地市借考。
2.随迁子女考生原则上在学籍所在地报考,也可以在父母居住证所在地报考,不得在其他地市借考。
(二)往届毕业生
1.广东省深圳市户籍考生在户籍所在区的社会报名点报考。深圳市外户籍的往届毕业生回户籍所在地报考。
2.往届随迁子女考生在毕业学校或父母社保缴纳所在区的社会报名点进行资料审核。
(三)同等学力人员
统一在户籍所在地报考,不得在其他地市借考。
(四)社会报名点设置
我市在各区设立社会报名点,接受社会考生报名。深圳户籍的往届生、市外学校就读回深报考的考生需到社会报名点报名。报名点安排情况如下:
(1)罗湖社会报名点(行知职业技术学校)负责罗湖区户籍考生;
(2)福田社会报名点(红岭中学)负责福田区户籍考生、消防救援(单招)考生;
(3)南山社会报名点(南头中学)负责南山区户籍考生;
(4)盐田社会报名点(盐田高级中学)负责盐田区户籍考生;
(5)宝安社会报名点(宝安中学、龙津中学)负责宝安区户籍考生(其中宝安中学报名点负责新安街道、西乡街道、航城街道、石岩街道辖区范围内的考生;龙津中学报名点负责新桥街道、沙井街道、松岗街道、福永街道、福海街道、燕罗街道辖区范围内的考生);
(6)龙华社会报名点(观澜中学)负责龙华区户籍考生;
(7)龙岗社会报名点(龙城高级中学、横岗高级中学)负责龙岗区户籍考生(其中龙城高级中学报名点负责龙城街道、平湖街道、龙岗街道、宝龙街道、坪地街道辖区范围内的考生;横岗高级中学报名点负责园山街道、横岗街道、坂田街道、南湾街道、吉华街道、布吉街道辖区范围内的考生);
(8)坪山社会报名点(坪山高级中学)负责坪山区、大鹏新区户籍考生;
(9)光明社会报名点(光明区高级中学)负责光明户籍考生;
(10)深汕特别合作区社会报名点(深圳市深汕实验学校)负责深汕特别合作区户籍考生。
(11)深圳鹏城技师学院负责我市技工类应、往届毕业生。
我市社会报名点考生采用手机预约的方式办理高考报名手续。2025年10月28日起可通过“深圳市招生考试办公室微信公众号”考生服务栏目预约办理。预约成功的考生须按预约时间段持预约短信、报名材料到指定的社会报名点报名。
四、报名办法
(一)报考方式
高考报名前,各学校在高考报名系统中核对报名点代码,考生属性与考试科目之间关系说明(附1)。各学校可根据本校的实际,组织考生自行上网填报高考报名信息或在学校集中填报。高职院校五年一贯制录取且2026年进入高职阶段学习学生的确认工作由所属高职院校负责。
(二)考生报名基本流程
1.考生注册。考生应先进入广东省普通高考报名系统(网址为:https://pg.eeagd.edu.cn/ks),凭姓名、证件号注册考生账号,设置密码,并绑定手机号。
2.报名资格初核。报名前,考生应事先准备符合我省报考资格的相关证明材料(含身份证、居民户口簿、学籍、学历等材料),在所在学校或社会报名点进行报名资格初核。考生类型与所需报名材料清单见附3。应届毕业生可由所在学校事先核准考生报考条件和材料,到报名点集体办理报考手续。往届毕业生、社会人员须持报名材料到社会报名点办理报考手续。经初核符合我省高考报名条件的考生,由学校、社会报名点派发考生号。考生须提供真实的报名材料(含加分和优先录取资格材料),如发现有弄虚作假情况的,将纳入诚信体系严肃处理。
3.网上报名。凭个人证件号码或注册时填报的手机号码和注册时设置的密码登录广东省普通高考报名系统进行网上报名。网上报名时,考生须认真阅读报考须知,签订《考生诚信考试承诺书》(附4),并按系统指引,录入本人的基本信息(含普通高中学业水平考试选择考科目在内的报考信息、联系方式、个人简历、家庭情况等),上传身份证、居民户口簿等身份证明材料(其中身份证号44开头的广东户籍考生如经高考报名系统核查户籍信息验证通过的,无需上传),采集考生相片,并缴纳报考费。上传的报名材料支持JPG/PNG/PDF文件格式,大小不超过2M,其中身份证要求上传正反两面、户口簿要求上传首页、户主页、父/母亲或监护人页、考生本人页,考生可提前准备好电子文档,方便报名时上传。
4.确认报名。网上报名完成后,考生还须在规定时间内持二代(或三代)身份证、居民户口簿、学籍、学历等证明材料到学校、社会报名点办理确认报名手续。确认报名手续包括确认报名资格、校对和核准报考信息等。具体报名办法按《广东省2026年普通高校招生统一考试报名实施细则》(附5)进行。
(三)考生号编排规则
我省高考考生号采用10位编制,其中第一,二位为地市码;第三,四位为县区码;第五位为考生属性码,“1”代表普通类(物理),“2”代表普通类(历史),“3”代表体育类,“4”代表艺术类,“6”代表单考单招类,“8”代表“退役士兵”类,“9”代表“3+证书”类;第六至十位为流水号,其中第六位为“9”的是随迁子女考生。每个考生只能有一个高考考生号。
保送、运动训练、武术与民族传统体育、职教师资、残障(单招)、高职自主招生、高职三二分段、依学考成绩录取、五年一贯制、消防救援(单招)属于单考单招类型,不参加夏季高考统考,采用考生属性为“6”的考生号报名。单考单招类考生如需参加统考或兼报其他科类考试,应使用相应属性的考生号报名。
(四)选考科目要求
根据教育部2021年修订的《普通高校本科招生专业选考科目要求指引(通用版)》,拟参加2026年广东省普通高考的考生可参考2025年在粤招生高校本科专业(类)选考科目要求(可查阅广东省教育考试院编制发行的《广东省2025年普通高等学校招生专业目录》)或咨询相关高校,了解目标高校招生专业(类)的选考科目要求。实际招生高校和招生专业以《广东省2026年普通高等学校招生专业目录》公布为准。
五、特殊考生报名材料办理与审核
(一)户籍从外省迁入我省的考生
户籍从外省迁入我省的考生,高考报名前,应届毕业生须提前办理《广东省2026年普通高考报名应届毕业生学籍户籍审核表》(附6,简称《学籍户籍审核表》);往届毕业生须提前办理《广东省2026年普通高考报名往届毕业生报名资格审核表》(附7,简称《报名资格审核表》)。《学籍户籍审核表》和《报名资格审核表》经区教育行政部门审核,签署意见为“材料已核,同意报名高考”的,才能在我省正常报考,并填报本专科批次院校志愿;签署意见为“仅限报高职院校”的,只能填报高职(专科)批次院校志愿。仅报考高职院校的中职学校毕业生(含五年一贯制、高职三二分段、“3+证书”专科批次、高职自主招生)无需填写《学籍户籍审核表》和《报名资格审核表》。《学籍户籍审核表》和《报名资格审核表》办理流程如下:
1.考生办理流程。考生注册成功后,在网上填写并打印《学籍户籍审核表》或《报名资格审核表》后,应届毕业生连同身份证、居民户口簿等材料提交所在学校集体办理《学籍户籍审核表》;往届生携带身份证、居民户口簿、高中阶段学校毕业证到社会报名点办理《报名资格审核表》。
2.学校审核。应届毕业生所在学校负责《学籍户籍审核表》内容的初核工作,包括核对《学籍户籍审核表》信息与相关证件信息是否一致,学籍和实际就读情况是否属实等。审核完成后,由学校校长签名,并盖学校公章后,提交区教育行政部门审核。
3.区教育行政部门审核。区教育行政部门根据学校、社会报名点的初审情况,审核《学籍户籍审核表》和《报名资格审核表》,给出“材料已核,同意报名高考”或“仅限报高职院校”或“不同意在我省高考报名”的审核意见并签名盖章。审核结果在高考报名系统上提交,各学校、社会报名点要及时告知考生。
(二)随迁子女考生
根据《深圳市招生考试办公室关于做好2026年普通高考随迁子女考生报考资格审核工作的通知》要求,考生在高考报名前应提供本人身份证、居民户口簿和相关的资格证明材料由所就读的学校初审,并在系统上提交,审核通过后办理《广东省进城务工人员随迁子女高考报名资格审核表》(附8)。审核通过的随迁子女应在网上报名时间内登录高考报名系统输入《广东省进城务工人员随迁子女高考报名资格审核表》的相关信息,并在报名确认时持本人身份证、居民户口簿、父母居住证、父母社保(含养老保险和医疗保险)缴费证明等相关资格证明材料和审核通过的《广东省进城务工人员随迁子女高考报名资格审核表》按要求到就读学校或社会报名点办理报名确认手续。不符合我省报名条件的随迁子女,所在学校应及早做好解释和学生分流工作,引导学生尽早回户籍所在地参加高考报名。尤其是艺术类、体育类、中职类等特殊类型考生,因考试时间较早,一旦错过当地高考报名将无法安排考试。
(三)残疾人考生
残疾人考生在网上报名时应在高考报名系统上填写相应的残疾信息。根据《教育部 中国残联关于印发残疾人参加普通高等学校招生全国统一考试管理规定的通知》(教学〔2017〕4号)规定,符合条件的残疾人考生可以申请在普通高考中佩戴助听器、使用光学放大镜、使用大字号试卷、延长考试时间、免除英语听说考试等合理便利。办理流程如下:
1.考生申请。残疾人考生凭本人身份证、二代残疾人证,填写《残疾人报考广东省2026年普通高考合理便利申请表》(附9)在高考报名期间向学校提出正式的申请,由专家组进行现场确认和评估。无残疾人证考生不能申请合理便利。肢体残疾申请延长考试时间的考生,应在申请表中说明考生肢体残疾的具体情况,是否影响书写,必要时可附医院诊断报告。
2.市审核评估。市招考办联合残联、卫生等相关部门专业人员组成专家组,对考生的申请材料和残疾情况进行现场评估,形成《残疾人报考广东省2026年普通高考合理便利专家评估表》(附10)。
3.结果告知。省教育考试院将联合省残联、医疗专家进行复核,最终审核结果由省教育考试院通知(残疾人考生具体操作流程,市招考办将另文通知)。
(四)“3+证书”考生
“3+证书”考试的报考对象为中等职业学校(含职业高中、中专、成人中专、技工学校、技师学院)毕业生(包括退役士兵、西藏新疆内职班应届毕业生)。其中,全日制教育的中等职业学校(含职业高中、中专、技工学校、技师学院)应届毕业生可持学校应届毕业证明报考,入学时由录取高校审核毕业证原件,无中等职业学校毕业证的学生,不予报到和注册。中等职业学校往届毕业生及非全日制的中等职业学校(含成人中专等)毕业生持毕业证书报名。
“3+证书”考生报名时须获得相应职业技能证书,种类包括教育部教育考试院颁发的英语或计算机等级考试证书,省教育考试院颁发的“广东省中等职业技术教育专业技能课程考试证书”(简称专业技能课程证书),人社部门职业技能鉴定考核机构(各级职业技能鉴定指导中心)组考和颁发的部分职业资格证书,卫生行政主管部门颁发的护士执业资格考试成绩合格证明或护士执业证书,“1+X证书制度试点”职业技能等级证书。退役士兵凭退役证可以报考。西藏新疆内职班应届毕业生由考生联系就读学校报考。
已取得教育部教育考试院颁发的英语或计算机等级考试证书和省教育考试院颁发的专业技能课程证书的考生,在高考报名时,系统会自动关联证书信息;未自动关联的其他证书,由考生据实填写证书信息,录取前将核查是否属实。未取得证书,但已报名参加2026年1月由省教育考试院组织的专业技能课程证书考试的考生,可先报名,并在春季高考填报志愿前取得证书,方可参加“3+证书”考试的填报志愿和投档录取。获得专业技能课程证书,但未能通过高考报名系统核验的考生,需于填报志愿前携带本人身份证、证书原件、复印件到地市招生办办理证书确认手续。退役士兵持身份证和退役证办理相关手续。
持人社部门职业技能鉴定考核机构(各级职业技能鉴定指导中心)组考和颁发的部分职业资格证书(证书名称可参见2026年普通高校招收中职毕业生考试招生工作的有关文件)和卫生行政主管部门颁发的护士执业资格考试成绩合格证明或护士执业证书的考生,报考时须如实填写证书名称、证书号码等信息,并上传证书图片。
已获得“1+X证书制度试点”职业技能等级证书(下称职业技能等级证书)的考生,报名时,系统会自动关联考生职业技能等级证书信息;若系统未能关联到考生的职业技能等级证书信息,考生可在系统中填写相关信息,并上传证书电子版等证明材料。尚未获得职业技能等级证书,但在2026年3月1日前可获得职业技能等级证书的考生,还须在我省2026年春季高考志愿填报前联系学校补充相关证书信息。我省2026年春季高考志愿填报时间另文通知。报名完成后,省教育考试院将统一核查考生所填报的职业技能等级证书信息。
考生须对填写证书信息的真实性负责。招生院校在录取、入学时须对职业资格证书进行核验。职业资格证书不符合招生专业要求或未能通过核验的考生作退档或退学处理。建档时,中等职业学校毕业证和职业技能证书的复印件须放入档案。
(五)体育艺术类(含体育类、音乐类、舞蹈类、表(导)演类、播音与主持类、美术与设计类、书法类、戏曲类,下同)考生
体育艺术类文化课考试科目和普通类文化课考试科目一致。其中,首选科目物理或历史均可。
艺术类专业能力考试分为省统考和校考。音乐类、舞蹈类、表(导)演类、播音与主持类、美术与设计类、书法类六个类别省统考由广东省教育考试院组织,采取全省统一命题、统一考试、统一评卷(面试评分)的形式;戏曲类实行省际联考。艺术类考生只能选择其中一种,不得兼报;其中,音乐类考生在音乐教育、音乐表演(声乐)、音乐表演(器乐)三个专业方向选择填报并允许兼报;播音与主持类考生在普通话、粤语两个专业方向选择填报并允许兼报;表(导)演类考生在戏剧影视表演、服装表演、戏剧影视导演三个专业方向选择填报并允许兼报。校考由招生院校自行组织,参加校考的考生必须报名参加相应艺术类专业的省统考。
体育、艺术类考生报名时,需认真了解体育、艺术类专业考试招生的相关政策,具体内容详见《关于印发广东省2026年普通高校体育类专业招生报名及考试办法的通知》《关于印发广东省2026年普通高校艺术类专业考试招生办法的通知》。
六、考试费
考生须按规定缴纳考试费。考试费标准按照《广东省发展改革委 广东省财政厅关于规范全省教育部门教育考试行政事业性收费及有关问题的通知》(粤发改价格〔2022〕442号)执行。文化科考试费和艺术类、体育类专业能力(术科)考试统考费一同缴纳,实行网上缴费。
七、考生信息采集
考生信息采集应坚持基础身份特征信息用设备和程序采集,人工填报信息应采用交叉核对,重复校验的方式确保信息准确性。考生对所填报考信息的准确性负责。
(一)采集范围
参加高考报名的各类考生均需按要求采集考生信息。
(二)基础信息采集
考生基本身份特征信息使用电子设备程序统一采集。考生身份证信息统一采用身份证阅读器采集,考生相片和人脸特征信息数据通过省普通高考报名系统和省教育考试院官微小程序采集。其他考生信息由考生登录高考报名系统录入。考生姓名中无法输入的生僻字使用支持国标大字符集(GBK)的输入法输入,确实找不到的生僻字用大写拼音字母代替,并在报名确认时向学校、社会报名点申请备案正确姓名。
(三)信息采集要求
1.各区教育行政部门要确保辖区内各学校在报名工作开始前配置好身份证阅读器和人脸采集设备,并认真组织系统测试和操作培训,熟悉考生报名及现场确认流程(附11)。
2.对网上报名阶段无法正常采集并上传相片的考生,工作人员须现场核查考生身份证信息是否一致,并现场审核或重新采集相片。
3.考生信息采集完成后,各学校应打印《广东省2026年普通高校招生统一考试考生报名表》给考生核对确认,考生确认无误后签名,并由学校工作人员收回放入档案内。
4.报名结束后,各学校须将姓名中有生僻字而无法录入系统的考生姓名、考生号造册连同考生身份证复印件上报,由各区教育行政部门汇总后于2025年11月15日统一上报市招考办。并按要求完成考生资格核验、数据核准、统计等相关工作。
八、加分和优先录取资格
(一)申报范围
在《2026年普通高考加分资格考生信息采集分类表》(附12)《2026年普通高考同等条件下优先录取资格考生信息采集分类表》(附13)中,凡信息点代码栏未注明“不需采集”的加分资格和优先录取资格类型,均须在普通高考报名时申报。
(二)申报材料
符合有关加分资格和优先录取资格的考生向学校(报名点)提出申请,申请受理截止日期为2025年11月10日。未在截止日期前提出申请的考生视为自动放弃加分资格和优先录取资格。
1.烈士子女(非军人烈士子女)考生申请加分,需提供本人身份证、家庭户口本(含考生及父或母)、父母结婚证、烈士证明书、抚恤证等原件及复印件。
2.按照《广东省人民政府台湾事务办公室 广东省教育厅关于取消台胞及台胞子女在我省就读相关证明事项的通知》(粤府台发〔2018〕3号)要求,参加普通高校统一考试,且持有《中华人民共和国台湾居民居住证》、五年期《台湾居民来往大陆通行证》之一的台胞,或持有《中华人民共和国居民户口簿》的台胞子女(籍贯为台湾),在办理高考照顾录取手续时,需提供上述相应证件材料的原件及复印件。
3.参加普通高考的自主就业的退役士兵,向报名点提出加分资格申请时需提供本人《退出现役证》和身份证原件及复印件。《退出现役证》需复印封面及内页。
(三)资格审核
1.初审。各学校对申报2026年普通高考加分资格和优先录取资格的考生原始材料及其复印件进行初审,并于2025年11月15日前将经初审通过的考生信息录入高考报名系统。当考生符合多项资格时,在系统中可以多选,并按本、专科层次选择高分项输入。
2.复核。各学校录入完成后在网上打印出《2026年符合普通高考加分资格考生复核表》(附14,以下简称《复核表》)《2026年符合普通高考同等条件下优先录取条件资格考生备案表》(附15,以下简称《备案表》),并按《复核表》《备案表》中名单顺序分别整理申请加分资格、优先录取资格的考生证明材料复印件(每份复印件上须标注“此件与原件一致”字样,加盖公章,签署核准人姓名和日期)。《复核表》加盖公章后连同相关考生证明材料复印件于2025年11月15日前报送市招考办复核,《备案表》及相关考生证明材料复印件由各学校(报名点)核准备案。
3.公示。省教育考试院复核后,将符合普通高考考生加分资格名单在省教育考试院网站予以公示,公示信息保留至2026年年底,接受社会监督。未经公示的考生不能获得相关加分资格。
(四)另行采集类型
1.军人子女(含军人烈士子女)考生
根据《广东省教育厅 广东省军区政治工作局 广东省双拥工作领导小组办公室关于印发〈广东省军人子女教育优待实施细则〉的通知》(政〔2022〕1250号)规定,军人子女,包括现役军人的子女、烈士子女、因公牺牲和病故军人的子女。符合军人子女加分和优先录取政策并申请加分资格和优先录取资格的考生,由驻粤部队军人所在团以上单位政治工作部门于2025年12月1日前向驻地军分区(警备区)提报本单位参加高考的军人子女名单(考生号、姓名、性别、优待类别)和相关证明材料,非驻粤部队在上述规定时间内向考生就读学校所在地军分区(警备区)提报。省军区政治工作局汇总审核后,报省招生办。省招生办将根据省军区政治工作局审核结果,在省教育考试院网站上公示通过审核的加分资格考生名单。
2.消防救援人员及其子女(含消防救援人员烈士子女)考生
根据《应急管理部 教育部关于做好国家综合性消防救援队伍人员及其子女教育优待工作的通知》(应急〔2019〕37号)及教育部有关规定,国家综合性消防救援队伍人员及其子女参加全国统考录取的,参照军人有关优待政策执行。符合消防救援人员及其子女加分和优先录取政策并申请加分资格和优先录取资格的考生,由市支队级以上单位政治工作部门在规定时间向广东省消防救援总队政治部提报本单位参加高考的消防救援人员及其子女名单(考生号、姓名、性别、优待类别)和相关证明材料。广东省消防救援总队政治部汇总审核后,报省招生办。省招生办将根据省消防救援总队政治部审核结果,在省教育考试院网站上公示通过审核的加分资格考生名单。
3.“三侨生”、少数民族考生
省招生办联合省侨办、省民宗委对三侨生、少数民族聚居区少数民族考生的资格进行核准确认,以保证三侨生、少数民族聚居区少数民族考生录取的公平公正。三侨生的资格审核工作按《关于印发〈广东省人民政府侨务办公室 广东省招生委员会办公室 广东省公安厅关于报考普通高校入学考试的“三侨生”身份确认工作规定〉的通知》(粤侨办〔2021〕1号)《深圳市招生考试办公室关于转发做好我市2026年度普通高校入学考试“三侨生”身份确认工作的通知》要求执行。少数民族聚居区少数民族考生的资格审查工作,按照《广东省民族宗教委 广东省招生委员会关于做好普通高校招收广东省少数民族聚居区少数民族考生工作的通知》(粤民宗规〔2020〕1号)要求执行。
九、思想政治品德考核
思想政治品德考核主要考核考生本人的现实表现。
(一)考生所在学校或单位应对考生的政治态度、思想品德做出全面鉴定,并对其真实性负责。无就读学校或工作单位的考生原则上由所属的街道办事处鉴定。
(二)考生有下列情形之一且未能提供对错误的认识及改正错误的现实表现等证明材料的,应认定为思想政治品德考核不合格:
1.有反对宪法所确定的基本原则的言行或参加邪教组织,情节严重的;
2.触犯刑法、治安管理处罚法,受到刑事处罚或治安管理处罚且情节严重、性质恶劣,尚在处罚期内的。
(三)考生应在网上报名时如实填写本人思想政治品德情况。省内高中应届毕业生可使用《广东省中学生德育考核表》作为思想政治品德考核鉴定材料。除使用《广东省中学生德育考核表》作为思想政治品德考核鉴定材料的考生外,其他考生应在高考报名前向所在学校或单位(所属的街道办事处)申请办理《广东省2026年普通高校招生统一考试考生思想政治品德考核表》,并在现场确认时交报名点。
十、体检
(一)所有参加2026年普通高考录取的考生应参加普通高考体检。
(二)时间安排。普通高考体检时间为高考报名后至2026年2月1日。参加2026年春季高考高职分类招生录取的考生,复检时间安排在3月4日至6日,复检后需修正数据的,须于3月10日前上报市招考办。仅参加6月份夏季高考招生录取的考生,复检时间安排在6月11日至13日,复检后需修正数据的,须于6月11日至21日期间上报市招考办。
(三)2026年普通高校考试招生体检工作具体要求另文通知。
十一、建档
考生档案包括考生电子档案和纸介质档案。
(一)建立考生电子档案
考生电子档案是考生考试、高校录取、高校学籍管理以及发放毕业证书的依据,考生电子档案数据要确保真实准确、图像规范,且与考生报名登记表等纸介质或相应信息数据库内容一致。
各学校在考生报名确认工作结束后,要组织专人做好考生电子档案建立工作。按照省教育考试院有关建立电子档案的要求和标准,准确录入考生的普通高中学业水平考试成绩、综合素质评价、体检情况,并确保电子档案准确无误。
(二)建立考生纸介质档案
应届生和往届生纸介质档案由必备材料和补充材料两部分组成。
1.必备材料
(1)高级中等教育学籍档案;
(2)广东省中学生德育考核表(包括学生每学年的自我鉴定等,此表为省委教育工委、省教育厅制)或广东省2026年普通高校招生统一考试考生思想政治品德考核表;
(3)高级中等教育毕业证书或同等学力证明复印件;
(4)广东省2026年普通高校招生统一考试考生报名表;
(5)广东省2026年普通高校招生统一考试考生体格检查表;
(6)广东省中学生体育合格标准考核成绩登记表或国家学生体质健康标准登记卡或免于执行国家学生体质健康标准申请表;
(7)身份证(或军人身份证)、户口簿复印件;
(8)广东省2026年普通高校招生统一考试考生诚信考试承诺书。
2.补充材料
(9)职业技能证书复印件(3+证书考生用);
(10)团籍材料:入团申请书、入团志愿书、中学生入团积极分子发展对象培养考察表、团员奖惩材料、共青团基本义务告知函(共青团员考生用);
(11)单位或居委会的证明、鉴定;
(12)少数民族聚居区少数民族考生审核表;
(13)广东省2026年普通高考报名应届毕业生学籍户籍审核表(户籍从外省迁入我省的应届毕业生用);
(14)广东省2026年普通高考报名往届毕业生资格审核表(户籍从外省迁入我省的往届毕业生用);
(15)广东省进城务工人员随迁子女高考报名资格审核表(随迁子女考生用);
(16)地级市侨办核发的“归侨青年、归侨子女、华侨在国内的子女身份证明”;
(17)广东省2026年普通高校招收特殊专业考生体检表(填报有关院校特殊专业考生用);
(18)符合省招生委员会规定的录取新生有关照顾政策的奖状或证明材料复印件(如烈士子女的有关证明材料)及其他证明学生获奖情况的相关材料。
(19)退出现役证复印件(退役军人用)。
普通高中应届毕业生纸介质材料应包括(1)—(8)项内容;其他社会人员的纸介质材料包括上述(2)—(8)项内容;报考3+证书考试的退役军人纸介质材料包括(2)(3)(4)(5)(7)(8)。有其他档案材料的可同时提供。
凡属于复印件的材料,须由检验员签名、写明日期,加盖核查审定考生报名资格的学校公章。
(三)建立考生档案的具体要求
1.2026年考生档案须添加“广东省××市普通高校招生考生档案材料目录”清单,并在目录每一项表格后面加空括号。有材料的在清单中相应括号内打“√”,并将档案材料按序装订成册。
2.各学校在考生档案材料上签署意见和结论时,应对考生高度负责,必须用词准确、文字规范。如需对考生的某方面内容进行特殊说明,可另加附页。报名后考生信息如按相关流程完成修改更正,各学校应及时更新其纸介质档案的对应材料,确保纸介质档案内容与考生电子档案信息一致。
十二、工作要求
(一)根据《广东省教育厅关于印发广东省普通高中学业水平考试实施办法的通知》(粤教考〔2019〕18号)和《广东省教育厅关于延用〈广东省普通高中学业水平考试实施办法〉的通知》(粤教考〔2024〕13号),2026年普通高中应届毕业生须在2026年7月前,通过普通高中学业水平合格性考试,并取得高中毕业学历,才能正常进行录取和入学。其他高中阶段学校应届毕业生,也需取得高中阶段毕业学历,才能正常进行录取和入学。
(二)考生提交各种报考资格证明材料时,须确保真实性,不得弄虚作假。凡弄虚作假、提交虚假证明的,何时发现,何时取消报考资格,已经录取的,取消录取资格。
(三)各区教育行政部门要对各学校的报名工作加强检查和指导,做好社会考生报考和服务工作。各学校要指定一名校领导负责高考报名工作的开展进行统筹管理。在报名工作开始前做好各项准备工作,精心组织,避免拥挤、混乱的情况发生。要准备好电脑、打印机、身份证阅读器、摄像头、人脸识别等硬件设施,并提前完成各环节的测试,确保各种设备在正式报名时能正常使用。
(四)各学校要配备足够的工作人员,并挑选工作责任心强、熟悉报考业务的教师负责报考工作。同时要加强内部管理,科学合理设置报名流程,制定高考报名工作管理规定,明确工作人员岗位责任,尤其要指定专人负责管理高考报名系统的密码,确保考生报考信息安全和保密。
(五)各学校要组织高三年级教师、教务负责人,尤其是班主任认真学习省、市关于2026年普通高考报名工作的相关政策、规定和文件精神,准确把握有关考生报考的各项规定,严格执行报名条件规定。加强对报名工作人员报考业务培训,提高业务能力,尤其要加强考生户籍、学籍、随迁子女资格和实际就读情况等条件的审核,严把报名资格审查关。要进一步加强对报名工作人员的法律和纪律教育,严守工作纪律,严禁报名工作人员参与弄虚作假骗取报名资格的行为。
(六)市招考办对外咨询电话:82181999。报名期间,省教育考试院下发的文件、通知,市招考办将及时发布在“深圳招考网”和官方微信公众号上,各区教育行政部门、各学校要及时查阅办理。
(七)如国家及省对普通高考报考条件及其他方面有新的规定和要求,将按国家及省规定执行。
附:1.考生属性与考试科目之间关系的说明
2.2026年普通高考社会报名点安排表
3.考生类型与报名材料对应表
4.广东省2026年普通高校招生统一考试考生诚信考试承诺书
5.广东省2026年普通高校招生统一考试报名实施细则
6.广东省2026年普通高考报名应届毕业生学籍户籍审核表(户籍从外省迁入我省的应届生填写)
7.广东省2026年普通高考报名往届毕业生报名资格审核表(户籍从外省迁入我省的往届生填写)
8.广东省进城务工人员随迁子女高考报名资格审核表(随迁子女考生填写)
9.残疾人报考广东省2026年普通高考合理便利申请表
10.残疾人报考广东省2026年普通高考合理便利专家评估表
11.广东省2026年普通高校招生统一考试网上报名简要工作流程
12.2026年普通高考加分资格考生信息采集分类表
13.2026年普通高考同等条件下优先录取资格考生信息 采集分类表
14.2026年符合普通高考加分资格考生复核表
15.2026年符合普通高考同等条件下优先录取条件资格考生备案表
16.只能报考高职(专科)批次院校考生名单汇总
17.广东省2026年普通高校招生统一考试考生思想政治品德考核表













